致卓测控为您讲解如何测定电流互感器的极性?
电流互感器(CT)是电力系统重要的电气设备,它承担着高、低压系统之间的隔离及高压量向低压量转换的职能。其接线的正确与否,对系统的保护、测量、计量等设备的正常工作有极其重要的意义。在新安装CT及投运或更换CT二次电缆时,测定CT极性的正确性,已经是继电保护工作人员必不可少的工作程序。下面将对CT极性测定展开详细的介绍:
一、什么是CT的极性?
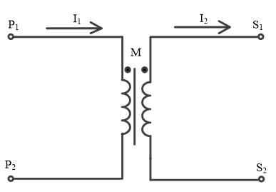
极性就是铁芯在同一磁通作用下,一次线圈和二次线圈感应出的电动势,其中两个同时达到高电位的一端或同时为低电位的一端称为同极性端。耐压测试台
所谓电流互感器(CT)极性是指它的一次绕组和二次绕组间电流方向的关系。按照规定,CT一次绕组的首端标为P1,尾端标为P2;二次绕组的首端标为S1,尾端标为S2。在接线中,P1和S1、P2和S2称为同极性端。假定一次绕组的电流I1从首端P1流入,从尾端P2流出时,二次绕组中感应的电流I2是从首端S1流出,从尾端S2流入,此时在铁芯中产生的磁通方向相同,这样的CT极性标志称为减极性。反之,称为加极性。常用的电流互感器,除有特殊规定外,均采用减极性。耐压测试台
二、为什么要测定CT的极性?
电流互感器在交接及大修前后都必须进行极性测定,除此之外,当运行中的差动保护、功率方向保护误动作或电度表反转时也要进行CT的极性检查,这是因为如果电流互感器在接线时把极性接错,将会产生以下危害:
(1)电流互感器如用在继电保护电路中,将引起继电保护装置的误动或拒动,同时会影响电力系统的运行监控和事故处理,严重时还会危及设备及人身安全。耐压测试台
(2)电流互感器如用在仪表计量回路中,将会使各种仪器、仪表的指示和电能计量不正确。
(3)采用不完全星形联结的电流互感器,若任意一相极性接反,都会引起未接电流互感器的一相(一般为中相)较其它相电流增高倍。
(4)采用不完全星形联接的电流互感器,若两相均接反,虽然二次侧的三相电流仍能保持平衡,但与相应的一次侧电流的相角差为180°,从而将使电度表反转。耐压测试台
因此,正确判断电流互感器的极性正确与否是一项十分重要的工作。
三、如何测定CT的极性?
测定CT极性的方法很多,我们在工作时常采用的有以下两种试验方法:直流法、仪表法。
1.直流法
直流法的接线如下图所示。将干电池或蓄电池的正极接于CT的一次绕组P1,负极接在P2上,CT的二次侧S1接指针式电流表(或者把指针式万用表打到毫安档)的正极,S2接负极。接好线后,若开关S在合闸瞬间指针正偏,拉闸瞬间指针反偏,则P1、S1是同名端,电流互感器是减极性,如指针摆动与上述相反为加极性。耐压测试台
2.仪表法
仪表法主要是采用互感器变比极性测试仪来测定CT的极性,其内部采用恒压源,测量范围广,便于携带,不仅可以直观地显示CT极性、变比值,还可以测量CT的直阻和励磁特性等,简单直观,目前广为采用。其接线图如下图所示,具体的接线方法是:测试仪上一次侧的红线(P1)接CT一次侧(P1)极性端,黑线(P2)接CT一次侧(P2)极性端;测试仪上二次侧的红线(S1)接CT二次侧(S1)极性端,黑线(S2)接CT二次侧(S2)极性端。注意:测试仪上有两个S1和S2,分别并联连接,但彼此间的内部逻辑运算不同,分别用于极性的判别和变比的计算。耐压测试台
四、两种CT极性测定方法对比
(1)直流法的特点:耐压测试台对于单个单相电压或电流互感器的极性测定,直流法具有原理简单,测量设备接线简便,操作不复杂等优点,适用于单个互感器极性的检测和判断。对于多次的极性测定,直流法需要频繁的插拔实验接线,需要多人配合,费时费力,同时存在安全隐患,因此不适用于多个互感器的极性测定。
(2)仪表法的特点:在现场三相一组的电压或电流互感器连接的极性检测中,其具有测量次数少,测量准确度高,判断依据简单直观,操作方便,可以同时显示极性和变比,可大幅度提高检测工作的效率,是较高级的极性检测方法,广泛采用。
五、CT极性测定时的注意事项
(1)分相测试时,进行某相的测试,要观察非测试相应无变化。耐压测试台
(2)多绕组CT,应将每一个绕组分别测试,不得有遗漏。
(3)符合保护厂家的特殊极性要求。





扫一扫添加微信